OH前のコラムからほぼ9か月、ようやくNikon Fが関東カメラでOHを終えて返却されてきましたが、各部の操作感を確認したところ、何かおかしい。
レリーズ時、まれにミラーと絞り機構が作動せずにシャッターだけが作動する症状があったため、関東カメラへ相談のうえで再調整して頂くこととなりました。
再修理ではなく”再調整”
ソフトレリーズボタンAR-1を付けてゆっくりとレリーズボタンを押すと、レリーズシャフトとミラー・絞りの機構が連動せず、シャフトの下部にあるシャッター機構だけが作動してしまうようです。
AR-1をつけない場合は再現せず、AR-1付きの場合は関東カメラでも再現したとのこと。
ただし、これはOHに不備があったのではなく、きちんと分解•清掃•注油がなされた故に発生した症状と思われます。
長年のすり合わせによって連動していた機構に、OHによって極わずかな機械的遊びができて症状が現れたか、部品同士の磨耗によって正しく部品を取り付けてもコンマ数ミリの違いで連動しきれない場合があるか、いずれにしても機械式ならではの現象と言えるでしょう。


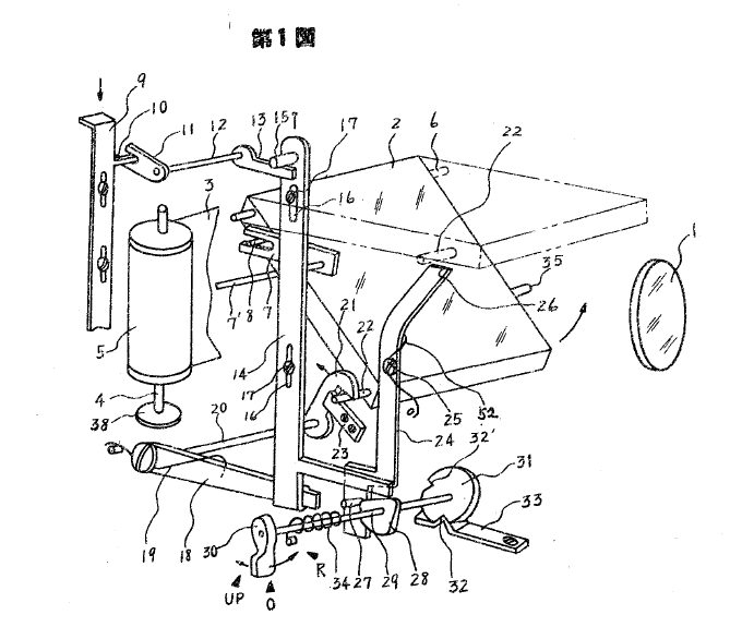
参考図:特公昭40-021674(日本光学工業株式会社:1963年出願) ミラーアップ機構の発明ですが、内部機構がわかりやすく面白い文献です。
摺動杆9(レリーズシャフト)を押し下げると各部品11-14,18,20-21が連動してミラー2のピン22が開放され、さらに9の押下げによって先端部の45が第1鍵レバー40を解除し、シャッター先幕軸4の爪車38が解除される構造です。絞り機構は図示されていませんが、レバー7とに自動絞りが連動しています。
そもそも、ユニットでの部品交換や短期間での買い替えを前提としたデジタル機とは違い、この時代のカメラは定期メンテナンスと調整を行って一生使う設計です。
これからも使い続けるために症状を放置することはできませんが、OHが不完全だったと腹を立てるような不具合ではありません。50年前に製造された機械をメンテナンスして使うのですから、再調整が必要になる場合もあるでしょう。
むしろ、完全な調整がなされ、私のNikon Fはさらに精度が向上して戻ってくるのかもしれません。
体験談 – OHが不完全な場合
3年ほど前に Nicca Type3 のOHを依頼した「(特定タイプのカメラ) 修理専門店」はひどい店舗でした。
5万円弱の費用をかけてシャッター幕の交換を含むOHを依頼しましたが、幕の取り付け不良で光線引きを起こして再修理。(L39マウントのLeicaで発生する高速シャッターでの露光ムラではなく、全コマで発生)
再修理後も、スローガバナーが作動不良のまま(再修理前は正常に作動していたSS1秒が1/2秒くらいになる速さのまま)で返却されてきました。
NiccaはNikonやLeicaの品質には及ばないカメラとはいえ、一箇所直すと他が悪くなるレベルの低さです。
大切なカメラを3回も預けるのも嫌で、結局、Niccaは神戸の上沢写真機修理店へ再OHを依頼しました。
上沢写真機修理店でのOH費用は、シャッター幕の交換+ハーフミラー交換の部品代を入れても初回の自称専門店よりは安く、OH後も問題なく作動•使用しています。
上沢写真機修理店は修理実績はもちろん、症状の具体的説明とともに見積額の詳細を説明頂けるので、安心してOHをできる店舗です。
OH後に再調整を依頼するなら
言うまでもないでしょうが、明らかな異音はともかく「シャッター音をもっと静かにしたい」など感覚的な再調整の依頼は避けましょう。
OHして正解なシャッタースピードが出ればそれなりに作動音がするのは当然です。
また、再現する症状で再調整を依頼しましょう。
極まれにしか再現しない症状もあるので悩ましいところですが、気になる点があればまず店舗へご相談を。
私は今回の連動不良について、確実に再現するかを確かめるためにレンズ2本を付け替えて、それぞれ50回は空シャッターを切って確認しています。
2本付け替えたのは、レンズ側の不具合がカメラ側に影響していないか確認するため。
50回以上の空シャッターは、何かしらの操作ミスや勘違いではないかを疑ったため。
それを経て、関東カメラでも症状が再現されたために再調整となっています。
無理難題を押し付けて優秀な修理会社を困らせると、フィルム機のOH自体が超高額となるか、オールドカメラ修理業を衰退させてしまうおそれがあります。
自分たちの首を絞めることにならないよう、末永くお付き合いをしたいものです。
なお、再調整とその後の経過観察を含めて納期は1ヵ月ほどとの事。
調整した後、しばらくしてから症状が再現しないか確認してもらえるというのも信頼できる対応です。
次こそは、OH完了の感想をレビューできたらと思います。
